Adapter Cable Specifications
This section provides the technical specifications and performance parameters of cables compatible for Percipio cameras, serving as a practical reference to help users select and install the appropriate cables for their specific camera models.
Camera Model |
Adapter Cable Type |
|---|---|
|
|
TL460-S1-E1 |
|
GM Series, TM26X |
M12 A-Code Static Ethernet Cable |
FM854-E1, TM421-E1 |
M12 A-Code Static Ethernet Cable |
M12 A-Code Trigger & Power Cable
This cable features an M12 A-Code 8-pin female connector that integrates both trigger signaling and power supply functions.
Compatible Camera Models
✓ FM855-E1 |
✓ FM815-E1 |
✓ PS800-E1 |
✓ PS802-E1 |
✓ PMD02-E1 |
✓ PMD03-E1 |
✓ PM805-E1 |
✓ PM806-E1 |
✓ VMD03-1230C |
✓ VMD03-8521C |
✓ VMD02-4070 |
✓ VMD02-5011 |
Cable Specifications
Parameter |
Specification |
|---|---|
Model Series |
Straight connector models:
Right-angle connector models:
|
Connector 1 |
M12 A-Code straight or right-angle connector |
Connector 2 |
Open |
Length |
5m / 10m / 15m / 20m / 30m |
Insulation Resistance |
≥ 2 MΩ, DC: 300 V |
Contact Resistance |
≤ 3 Ω |
Jacket Material |
PUR black, shielded |
Cable Gauge |
8 x 0.25 mm² |
Outer Diameter (OD) |
6.5 mm ± 0.2 mm |
Static Bend Radius |
8 * OD |
Dynamic Bend Radius |
10 * OD |
Safety Compliance |
Compliant with RoHS |
Flame Retardant Rating (Plastic Materials) |
V-0 |
Flame Retardant Rating (Cable Body) |
VW-1 |
Drag Chain Test |
≥ 5 million cycles |
Torsion Test |
≥ 3 million cycles |
Plug/Unplug Test |
≥ 500 cycles |
Wiring Reference
Connect the cable’s braided shield to the connector’s shield terminal.
Connector 1 |
Connector 2 |
Color |
|
|---|---|---|---|
1 |
———— |
1 |
White |
2 |
———— |
2 |
Brown |
3 |
———— |
3 |
Green |
4 |
———— |
4 |
Yellow |
5 |
———— |
5 |
Gray |
6 |
———— |
6 |
Pink |
7 |
———— |
7 |
Blue |
8 |
———— |
8 |
Red |
M12 A-Code 8-Pin Female Connector
Mechanical Dimensions
M12 A-Code Trigger & Power Cable (Right-Angle Connector)
M12 A-Code Trigger & Power Cable (Straight Connector)
M12 A-Code Trigger & Power Cable with AC 220V Power Plug
This cable features an M12 A-Code connector on one end and an integrated AC 220V power plug on the other, delivering both trigger signals and DC power to the camera.
Compatible Camera Models
✓ PMD02-E1 |
✓ PMD03-E1 |
✓ PM805-E1 |
✓ PM806-E1 |
✓ VMD03-1230C |
✓ VMD03-8521C |
✓ VMD02-4070 |
✓ VMD02-5011 |
✓ FM855-E1 |
✓ FM815-IX-E1 |
—— |
—— |
Cable Specifications
Parameter |
Specification |
|---|---|
Model Series |
TY-PW-M12A8(R)-AC220V-10M TY-PW-M12A8(R)-AC220V-15M TY-PW-M12A8(R)-AC220V-20M TY-PW-M12A8(R)-AC220V-30M |
Connector 1 |
M12 A-Code right-angle connector |
Connector 2 |
Triangular male AC 220V power plug |
Length |
10m / 15m / 20m / 30m |
Rated Voltage |
30V AC/DC |
Rated Current |
Max 2A |
Temperature Range |
-25℃ ~ 80℃ |
Ingress Protection |
IP67 (mated connector tightened) (EN60529) |
Standard |
IEC 61076-2-101 |
Drag Chain Test |
≥ 8 million cycles |
Torsion Test |
≥ 3 million cycles (±180°) |
Insulation Resistance |
≥ 100 MΩ |
Contact Resistance |
≤ 5 MΩ |
Plug/Unplug Test |
≥ 100 cycles |
Wiring Reference
Mechanical Dimensions
M12 A-Code AC 220CV Power Plug (Straight-Angle)
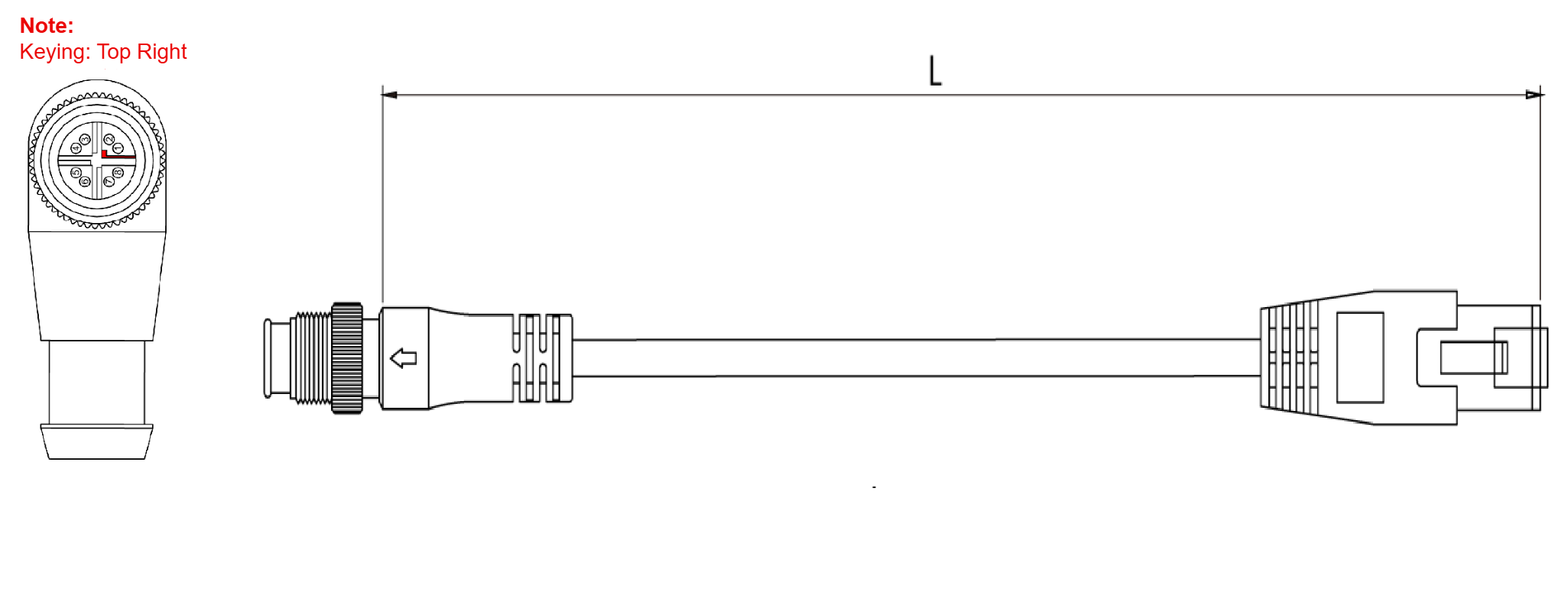
M12 A-Code Static Ethernet Cable
This cable is a Cat.6 Static Ethernet Cable designed for fixed installations, featuring an M12 A-Code 8-pin connector and ideal for camera data communication in static environments.
Compatible Camera Models
✓ PS801-E1 |
✓ PS801-N-E1 |
✓ FM854-E1 |
✓ TM421-E1 |
✓ TM26X-E1 |
✓ GM46x-E1 |
✓ TL460-S1-E1 |
—— |
Cable Specifications
Parameter |
Specification |
|---|---|
Model Series |
TY-E-M12A8-RJ45-5M-S TY-E-M12A8-RJ45-10M-S TY-E-M12A8-RJ45-15M-S TY-E-M12A8-RJ45-20M-S |
Connector 1 |
M12 A-Code 8-pin straight connector |
Connector 2 |
RJ45 |
Length |
5m / 10m / 15m / 20m |
Insulation Resistance |
≥ 10 MΩ |
Contact Resistance |
≤ 3 Ω |
Jacket Material |
PVC black |
Cable Gauge |
4P x 0.14 mm² |
Transmission Characteristics (Category) |
Cat.6 |
Outer Diameter (OD) |
6.5 mm ± 0.2 mm |
Safety Compliance |
Compliant with RoHS |
Flame Retardant Rating (Plastic Materials) |
V-0 |
Flame Retardant Rating (Cable Body) |
VW-1 |
Plug/Unplug Test |
≥ 500 cycles |
Wiring Reference
Connector 1 |
Connector 2 |
Color |
|
|---|---|---|---|
6 |
—— |
1 |
Orange-White |
4 |
—— |
2 |
Orange |
5 |
—— |
3 |
Green-White |
8 |
—— |
6 |
Green |
7 |
—— |
4 |
Blue |
1 |
—— |
5 |
Blue-White |
2 |
—— |
7 |
Brown-White |
3 |
—— |
8 |
Brown |
M12 A-Code 8-Pin Male Connector
Mechanical Dimensions
M12 A-Code Ethernet Cable
M12 X-Code Ethernet Cable
High-Flex Drag Chain Ethernet Cable
This cable is a high-flexibility Ethernet cable featuring an M12 X-Code 8-pin male connector. It is designed for dynamic scenarios such as cameras mounted on robots or used with cable carrier systems, capable of withstanding millions of cyclic bending motions.
Compatible Camera Models
✓ PMD02-E1 |
✓ PMD03-E1 |
✓ PM805-E1 |
✓ PM806-E1 |
✓ VMD03-1230C |
✓ VMD03-8521C |
✓ VMD02-4070 |
✓ VMD02-5011 |
✓ FM855-E1 |
✓ FM815-IX-E1 |
✓ FM851-E1 |
✓ PS800-E1 |
✓ PS802-E1 |
—— |
—— |
—— |
Cable Specifications
Parameter |
Specification |
|---|---|
Model Series |
Straight connector models:
Right-angle connector models:
|
Connector 1 |
M12 X-Code straight or right-angle connector |
Connector 2 |
8-pin RJ45 |
Length |
5m / 10m / 15m / 20m / 30m |
Insulation Resistance |
≥ 20 MΩ, DC:300V |
Contact Resistance |
≤ 3 Ω |
Jacket Material |
PVC black |
Cable Gauge |
4P x 0.14 mm² |
Transmission Characteristics (Category) |
Cat5e |
Outer Diameter (OD) |
6.5 mm ± 0.2 mm |
Static Bend Radius |
8 * OD |
Dynamic Bend Radius |
10 * OD |
Safety Compliance |
Compliant with RoHS |
Flame Retardant Rating (Plastic Materials) |
V-0 |
Flame Retardant Rating (Cable Body) |
VW-1 |
Drag Chain Test |
≥ 10 million cycles |
Torsion Test |
≥ 3 million cycles |
Plug/Unplug Test |
≥ 500 cycles |
Wiring Reference
Connector 1 |
Connector 2 |
Color |
|
|---|---|---|---|
1 |
—— |
1 |
Orange-White |
2 |
—— |
2 |
Orange |
3 |
—— |
3 |
Green-White |
4 |
—— |
6 |
Green |
5 |
—— |
7 |
Brown-White |
6 |
—— |
8 |
Brown |
7 |
—— |
5 |
Blue-White |
8 |
—— |
4 |
Blue |
M12 X-Code 8-Pin Male Connector
Mechanical Dimensions
M12 X-Code High-Flex Drag Chain Cable (Right-Angle Connector)
M12 X-Code High-Flex Drag Chain Cable (Straight Connector)
Static High-Flex Ethernet Cable
This cable is a static high-flexibility Ethernet cable featuring an M12 X-Code 8-pin male connector. It is suitable for fixed installation scenarios, offering good flexibility to resist vibration and occasional bending.
Compatible Camera Models
✓ PMD02-E1 |
✓ PMD03-E1 |
✓ PM805-E1 |
✓ PM806-E1 |
✓ VMD03-1230C |
✓ VMD03-8521C |
✓ VMD02-4070 |
✓ VMD02-5011 |
✓ FM855-E1 |
✓ FM815-IX-E1 |
✓ FM851-E1 |
✓ PS800-E1 |
✓ PS802-E1 |
—— |
—— |
—— |
Cable Specifications
Parameter |
Specification |
|---|---|
Model Series |
TY-E-M12X8-RJ45-5M-S TY-E-M12X8-RJ45-10M-S TY-E-M12X8-RJ45-15M-S TY-E-M12X8-RJ45-20M-S TY-E-M12X8-RJ45-30M-S |
Connector 1 |
M12 X-Code straight or right-angle connector |
Connector 2 |
8-pin RJ45 |
Length |
5m / 10m / 15m / 20m / 30m |
Insulation Resistance |
≥ 20 MΩ |
Contact Resistance |
≤ 3 Ω |
Jacket Material |
PVC blue |
Cable Gauge |
4P x 0.14 mm² |
Transmission Characteristics (Category) |
Cat5e |
Outer Diameter (OD) |
6.5 mm ± 0.2 mm |
Length Tolerance |
± 50 mm @ 5 m ± 100 mm @ > 5 m |
Safety Compliance |
Compliant with RoHS |
Flame Retardant Rating (Plastic Materials) |
V-0 |
Flame Retardant Rating (Cable Body) |
VW-1 |
Plug/Unplug Test |
≥ 500 cycles |
Wiring Reference
Connector 1 |
Connector 2 |
Color |
|
|---|---|---|---|
1 |
—— |
1 |
Orange-White |
2 |
—— |
2 |
Orange |
3 |
—— |
3 |
Green-White |
4 |
—— |
6 |
Green |
5 |
—— |
7 |
Brown-White |
6 |
—— |
8 |
Brown |
7 |
—— |
5 |
Blue-White |
8 |
—— |
4 |
Blue |
M12 X-Code 8-Pin Male Connector
Mechanical Dimensions
M12 X-Code Static High-Flex Ethernet Cable
